在可控硅調光智能照明系統中,需要一個負壓電源來給調光控制芯片供電。傳統的阻容降壓或變壓器方案要么諧波超標,要么體積太大。成都慧創芯耀推出的SI1340,用一顆SOP-8芯片解決了這個痛點——輸出-5V/50mA,低諧波,外圍極簡,專為智能照明和可控硅驅動場景設計。
| 參數 | 規格 |
|---|---|
| 輸出電壓 | -5V(負壓) |
| 輸出電流 | 全橋≤50mA,半橋≤30mA |
| 輸入電壓 | 30~305Vac(超寬范圍) |
| 輸出精度 | ±3% |
| 紋波 | ≤10mV@220Vac |
| 待機功耗 | ≤100mW |
| 封裝 | SOP-8 |
SI1340采用"半線性"架構,介于傳統開關電源和線性電源之間:
不是高頻PWM開關,避免了復雜的EMI濾波
不是純線性降壓,避免了巨大功耗和散熱問題
通過專利的電流整形和自適應充電技術,在效率和簡單性之間取平衡

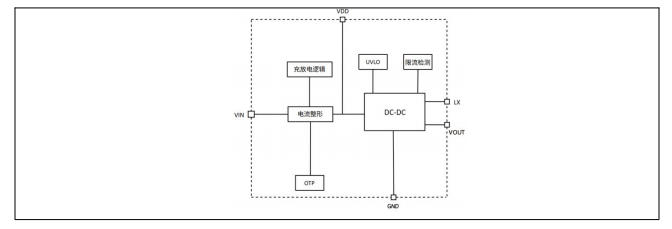
內部框圖顯示,芯片包含:
電流整形模塊:對輸入電流進行整形,降低諧波
充放電邏輯:自適應VIN電壓調節充電電流
DC-DC轉換器:產生穩定的-5V輸出
保護模塊:UVLO、過流、過溫保護

外圍元件清單:
| 位號 | 器件 | 作用 |
|---|---|---|
| RF1 | 保險電阻 | 輸入保護 |
| D1 | 整流二極管 | 半波/全波整流 |
| R1 | 限流電阻 | 配合D1整流 |
| EC1 | 電解電容 | VDD供電儲能 |
| L1 | 電感 | 輸出濾波(小封裝即可) |
| C1 | 輸出電容 | -5V濾波 |
| D2 | 續流二極管 | 電感續流 |
關鍵設計點:
輸入只需一顆二極管D1,半波整流即可工作(全橋效率更高)
無需大封裝工字電感,普通貼片電感或小型工字電感即可
無需π型EMI濾波,無需安規X電容
VDD電容建議47μF,影響啟動時間
SOP-8封裝,8個引腳:

SI1340最適合這些場合:
可控硅調光驅動:為調光控制IC提供負壓供電,低諧波不影響調光性能
智能照明:WiFi/Zigbee模塊的輔助電源,EMI易通過認證
小家電控制板:需要負壓或隔離地的場合
智能家居傳感器:門磁、人體感應等低功耗設備的供電
不適合的場景:需要正壓輸出的場合(這是負壓芯片)、電流需求超過50mA的場合、需要完全隔離的場合。

整流方式:全橋整流可獲得50mA輸出,半橋僅30mA,根據負載選擇
VDD電容:47μF是推薦值,太小啟動快但紋波大,太大啟動慢
電感選擇:不需要大電感感量,緊湊型即可,主要起濾波作用
散熱:SOP-8封裝熱阻150°C/W,50mA滿載時溫升可控,無需額外散熱
SI1340是一款"小而美"的專用電源芯片——不追求通用性,而是精準解決智能照明和可控硅調光的負壓供電痛點。低諧波、極簡外圍、易過EMI認證,這三個特性讓它在智能家居領域有明確的應用價值。對于需要-5V/50mA以內輔助電源的工程師來說,這是一個值得考慮的緊湊方案。